当前位置:首页 > 知产资源 > 正文
一种制备电子电器用无卤阻燃聚碳酸酯的冷却装置
【字体:                   分享到:

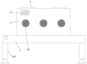
本实用新型涉及冷却装置技术领域,具体为一种制备电子电器用无卤阻燃聚碳酸酯的冷却装置,包括装置主体,所述装置主体的底端四角安装有支撑底柱,所述装置主体的背面设有电源接口,所述装置主体的顶部嵌入安装有输送机构,所述装置主体的顶部罩设安装有冷却箱,所述冷却箱的内部从上至下依次设有制冷腔与冷却腔,所述冷却箱的顶部嵌入制冷腔的内部安装有鼓风风机,所述制冷腔的内壁嵌入安装有制冷板,所述冷却腔的内壁顶端四角嵌入安装有电动升降杆,所述电动升降杆的底端安装有升降风板,整体装置结构简单,方便升降出风和控温制冷的快速冷却无卤阻燃聚碳酸酯使用,且稳定性和实用性较高,具有一定的推广价值。

q6hrSemgwCaZW7E8LkGzjRsQZj5aJHDc.pdf

 

Copyright ©2026   濮阳市知识产权公共服务平台 All Rights Reserved.