当前位置:首页 > 知产资源 > 正文
一种污泥处理设备
【字体:                   分享到:

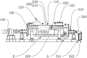
  本实用新型公开了一种污泥处理设备,涉及污泥处理技术领域。污泥处理设备包括主体、烘干夹套、排气组件。主体内设有烘干腔,主体上分别设有与烘干腔连通的进泥口、出泥口,进泥口位于主体的上方,出泥口位于所述主体的侧壁下方;烘干夹套设置于主体上,烘干夹套上设有第一加热腔,第一加热腔围设在烘干腔的外侧;排气组件设置于主体的上方,用于将所述烘干腔的水汽排出;本实用新型提供的污泥处理设备,通过将待处理的污泥输入烘干腔内,再利用烘干夹套对污泥进行烘干,在对污泥烘干至含水量符合要求时,再将其排出并转运至锅炉作为燃料使用,实现污泥的回收再利用,减少污泥对环境的污染,降低处理成本。

5jIjto9MKsLiy7ojdWlqTFbUj8mcrAfB.pdf

Copyright ©2026   濮阳市知识产权公共服务平台 All Rights Reserved.