当前位置:首页 > 知产资源 > 正文
一种氯化钙生产蒸发装置及工艺
【字体:                   分享到:

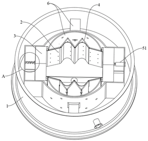
本发明涉及蒸发装置技术领域,具体公开了一种氯化钙生产蒸发装置及工艺。该装置包括安装箱,安装箱内设有左右相对的两柔性板、前后相对的两推动台组件,柔性板的前后两端分别与推动台组件接触并密封配合,柔性板、推动台组件均与安装箱密封配合,安装箱的箱底、两柔性板、两推动台组件共同形成蒸发空间,安装箱内还设有驱动各柔性板左右移动的驱动机构,柔性板的前后两端均固设有滑块。在柔性板由弯曲状态转变成伸直状态的过程中,柔性板将推动台内壁以及安装箱底壁上的结晶刮除,本发明通过柔性板从弯曲状态转变成伸直状态将推动台内壁上的结晶刮除,并通过柔性板底部将安装箱底壁上的结晶刮除。

一种氯化钙生产蒸发装置及工艺

 

Copyright ©2026   濮阳市知识产权公共服务平台 All Rights Reserved.